產品展示
您現在的位置: 首頁--產品展示
產品描述
Q641氣動O型球閥采用彈性密封圈結構設計,介質壓力較小時,密封圈與球體的接觸面積較小,故有較大的密封雙壓,確保可靠密封。
介質壓力較大時,密封圈與球體接觸面積增大,故密封圈能承受較大的介質推力而不會損壞。通過配置不同的控制附件,可實現
遙控及調節功能。
產品型號/技術參數
| 閥類 | 傳動方式 | 連結形式 | 結構形式 | 密封面 | 公稱壓力(MPa) | 閥體材料 |
| 球閥 | 6-氣動 6s-氣動帶手動 |
法蘭式 | 浮動球直通 | F-氟塑料 H-合金鋼 PPL |
1.6 2.5 4.0 6.4 |
按表內閥體 材料代號 |
| 公稱通徑DN(mm) | 15-250 | |||||
| 材料\材料代號 | C | P | R | |||
| 主 要 零 件 |
閥體 | WCB | ZG1Cr18Ni9Ti | ZG1Cr18Ni12Mo2Ti | ||
| 球板 | WCB | 1Cr18Ni9Ti | 1Cr18Ni12MoTi | |||
| 閥桿 | 2Cr13 | 1Cr18Ni9Ti | 1Cr18Ni12MoTi | |||
| 密封圈 | 增強聚四氟乙烯 對位聚笨 | |||||
| 填料 | 聚四氟乙烯 柔性石墨 | |||||
| 適 用 工 況 |
適用介質 |
水、蒸汽、油品 |
硝酸類 | 醋酸類 | ||
| 適用溫度 | -28℃~300℃ | |||||
| 控制型式 | 雙作用/單作用 | |||||
| 作用型式 | 切斷/調節 | |||||
| 輸入信號 | 電信號:0~10mA、-4~10mA 氣信號20~100kPa | |||||
| 回信電壓 | AC220V/DC24V | |||||
| 工作介質 | 凈化壓縮壓氣 | |||||
| 執行器 | 型號 | GT系列、HY系列、AW系列、ZSH系列 | ||||
| 氣源壓力 | 0.4~0.7MPa | |||||

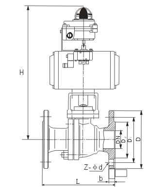
安裝尺寸表
| 公稱通徑DN(mm) | 尺 寸(mm) | 執行器型號 | ||||||||||||||||
| 1.6MPa | 2.5MPa | H | 4.0MPa | |||||||||||||||
| L | D | D1 | B | Z-D | L | D | D1 | B | Z-D | L | D | D1 | B | Z-D | H | |||
| 15 | 130 | 95 | 65 | 14 | 4-14 | 130 | 95 | 65 | 16 | 4-14 | 200 | 130 | 95 | 65 | 16 | 4-14 | 200 | 可選配GTD/GTE、 AW/AWS、HY、 ZSH系列執行器 (以上選配僅供參 選具體選用根據實 際要求) |
| 20 | 130 | 105 | 75 | 14 | 4-14 | 130 | 105 | 75 | 16 | 4-14 | 204 | 150 | 105 | 75 | 16 | 4-14 | 204 | |
| 25 | 140 | 115 | 85 | 14 | 4-14 | 140 | 115 | 85 | 16 | 4-14 | 215 | 160 | 115 | 85 | 16 | 4-14 | 210 | |
| 32 | 165 | 135 | 100 | 16 | 4-18 | 165 | 135 | 100 | 18 | 4-18 | 240 | 180 | 135 | 1 00 | 18 | 4-18 | 240 | |
| 40 | 165 | 145 | 110 | 16 | 4-18 | 165 | 145 | 110 | 18 | 4-18 | 264 | 200 | 145 | 110 | 18 | 4-18 | 264 | |
| 50 | 203 | 160 | 125 | 16 | 4-18 | 203 | 160 | 125 | 20 | 4-18 | 274 | 230 | 160 | 125 | 20 | 4-18 | 360 | |
| 65 | 22 2 | 180 | 145 | 18 | 4-18 | 222 | 180 | 145 | 22 | 8-18 | 379 | 290 | 180 | 145 | 22 | 8-18 | 390 | |
| 80 | 241 | 195 | 160 | 20 | 8-18 | 241 | 195 | 160 | 22 | 8-18 | 389 | 310 | 195 | 160 | 22 | 8-18 | 450 | |
| 100 | 305 | 215 | 180 | 20 | 8-18 | 305 | 230 | 190 | 24 | 8-23 | 416 | 350 | 230 | 190 | 24 | 8-23 | 480 | |
| 125 | 356 | 245 | 210 | 22 | 8-18 | 356 | 270 | 220 | 28 | 8-25 | 542 | 400 | 270 | 220 | 28 | 8-25 | 650 | |
| 150 | 394 | 280 | 240 | 24 | 8-23 | 394 | 300 | 250 | 30 | 8-25 | 572 | 480 | 300 | 250 | 30 | 8-25 | 670 | |
| 200 | 457 | 335 | 295 | 26 | 12-23 | 457 | 360 | 310 | 34 | 12-25 | 600 | 600 | 375 | 320 | 38 | 12-30 | 720 | |
其他相關產品
|
|
|
| ||||||||







